Ngay từ khi mới xuất hiện, bếp từ Malloca đã được thị trường Việt Nam ưa chuộng. Và lựa chọn sử dụng cho nhiều gia đình. Bên cạnh nhu cầu mua sắm thì cách sử dụng bếp từ malloca cũng là chủ đề được nhiều khách hàng quan tâm. Cùng Beptumastercook tìm hiểu qua viết dưới đây.

Cách sử dụng bếp từ malloca hiệu quả và an toàn
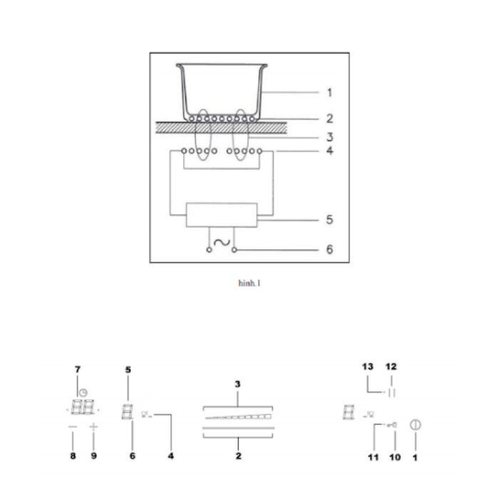
Nguyên lý hoạt động của bếp từ Malloca
Bếp từ Malloca tận dụng tối đa tính chất nhiễm từ của hầu hết các dụng cụ nấu nướng. Các cuộn dây (cuộn cảm) tạo ra một từ trường được vận hành và điều khiển bởi một vi mạch điện tử. Nhiệt lượng được truyền đến thức ăn qua đáy nồi sắt từ.
Hệ thống gia nhiệt dừng khi nhấc nồi ra hoặc thậm chí nhấc nhẹ. Các mạch điện tử đảm bảo tính linh hoạt và tinh chỉnh tối đa.
Nhờ nguyên lý hoạt động trên nên bếp từ Malloca rất an toàn khi đun nấu. Nhiệt lượng tập trung ở đáy nồi mà không lan tỏa ra xung quanh. Để thiết bị có thể chuẩn bị bữa ăn một cách nhanh chóng, tiết kiệm thời gian và tiết kiệm năng lượng.
Là thương hiệu bếp từ tốt nhất, bếp từ Malloca mang những đặc tính. Và chất lượng hoàn hảo của Châu Âu. Đặc biệt, thương hiệu không ngừng cải tiến và cập nhật công nghệ sản phẩm mới nhất. Đó là lý do bếp từ Malloca tuyệt đối tốt và bền bỉ theo thời gian.

Nguyên lý hoạt động của bếp từ malloca
>> Xem thêm cách sử dụng bếp từ electrolux đúng cách tại đây.
Cách Sử dụng bếp từ Malloca như thế nào?
Khi mua sản phẩm, nhiều khách hàng băn khoăn không biết sử dụng bếp từ Malloca như thế nào? Tiếp theo chúng ta sẽ đi giải mã các ký hiệu trên bảng điều khiển của bếp. Đồng thời, hướng dẫn bạn cách bật tắt và sử dụng các chức năng một cách hiệu quả.

Bảng điều khiển bếp từ Malloca
Chú thích
- Nút đóng/ mở
- Thanh trượt chọn công suất
- Thanh trượt chỉ thị công suất
- Lựa chọn vùng nấu
- Hiển thị mức độ công suất
- Đèn chỉ thị thời gian
- Hiển thị thời gian
- Giảm thời gian
- Tăng thời gian
- Khóa an toàn
- Đèn chỉ thị khóa an toàn
- Chọn tạm dừng
- Đèn chỉ thị tạm dừng
Bật, tắt bếp
Trước khi bật bếp, hãy kiểm tra xem đèn điều khiển khóa an toàn (11) có sáng không. Khi đèn sáng, nhấn và giữ biểu tượng khóa an toàn (10) trong 2 giây để mở khóa bếp.
Sau đó nhấn nút nguồn bật / Tắt (1) để kích hoạt bảng điều khiển. Lúc này bảng điều khiển sẽ được kích hoạt trong vòng 10 giây.
Nếu bạn không thực hiện bất kỳ thao tác nào sau 10 giây, bảng điều khiển sẽ trở về chế độ chờ. Khi nấu không có nồi. Sau khi chọn nguồn, bếp sẽ tự động tắt sau 1 phút. Để tắt bếp, nhấn bật/ Tắt (1), bảng điều khiển sẽ tắt.
Lựa chọn và điều chỉnh nhiệt độ khu vực nấu
– Chọn khu vực để đặt nồi, chảo. Nếu nồi không phù hợp, bếp sẽ báo lỗi.
– Nhấn biểu tượng (4) để chọn vùng nấu. Màn hình (5) hiển thị số “0” hoặc “H”.
– Đặt công suất nấu bằng điều khiển trượt (2). Bếp từ Malloca có 11 mức công suất, từ 0 đến 9 và P.
Tắt khu vực nấu
– Chọn biểu tượng số (4)
– Trượt thanh (2) về số 0
Chức năng tăng công suất nấu
Để tăng công suất, bạn hãy điều chỉnh thanh 2 lên mức “P”. Thời gian tăng công suất sẽ diễn ra tối đa 10 phút, sau đó bếp sẽ chuyển về mức nhiệt 9.
Khóa trẻ em
Kích hoạt khóa an toàn cho trẻ em bằng cách nhấn vào biểu tượng khóa (10) trong 10 giây. Cho đến khi đèn điều khiển (11) sáng lên. Thực hiện thao tác tương tự cho đến khi đèn điều khiển (11) tắt mở khóa an toàn.
Chức năng hẹn giờ
Chọn vùng nấu phù hợp. Tăng hoặc giảm thời gian bằng biểu tượng “+”, “- ”. Sau 5s, cài đặt thời gian thành công và đồng hồ đang chạy. Khi hết thời gian hẹn giờ, bếp sẽ phát âm báo trong 1 phút. Tắt âm báo bằng cách nhấn bất kỳ nút nào trên bảng điều khiển.

Lựa chọn và điều chỉnh nhiệt độ khu vực nấu
>> Xem thêm Hướng dẫn cách sử dụng bếp từ midea an toàn tại đây.
Trên đây là một số thông tin về cách sử dụng bếp từ malloca. Hy vọng sẽ giúp các bạn sử dụng bếp malloca một cách hiệu quả nhất.
